Официальный дистрибьютор SMC PNEUMATIC, CNP

LSPM-AL-R10 Аксессуары Turck

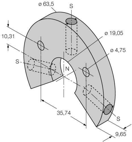
Описание

Аксессуары

Позиционирующий элемент

Для датчиков линейного перемещения LTX

Номер для заказа: 6900414

    • Большое магнитное кольцо с прорезью
    • Материал: Алюминий
8 740  в том числе НДС 22%
Общая сумма: 8 740
Добавить в корзину
Скачать описание
pdf
0.15 mb

Другое оборудование данной категории

KST-SB700 Аксессуары Turck
240  в том числе НДС 22%
KLN3 Монтажный кронштейн Turck
KLN3 Монтажный кронштейн Turck
888  в том числе НДС 22%
IA1.53SMETA Стеклянное оптоволокно Turck
13 807  в том числе НДС 22%
BS4-CK40 Аксессуары Turck
522  в том числе НДС 22%