Описание
Аксессуары
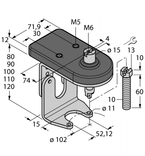
Монтажный комплект для ручных клапанов
Номер для заказа: 6901129
- Монтажный набор с монтажной платой для сдвоенного датчика и активатора and пускателя
- Для ручного вентиля размера F10 соотв. ISO 5211 / DIN 3337
- Настраиваемая высота
- Настраиваемое выдвижение штифта с самостопорящейся гайкой M10
- Прочнейшая нержавеющая сталь
- Монтажная плата для датчиков из Vestamit



